QR kood
Tooted
Võta meiega ühendust


Faks
+86-574-87168065

E-post

Aadress
Luotuo tööstuspiirkond, Zhenhai piirkond, Ningbo linn, Hiina
Raydafoni SWC-BH standardne Flex Welding Type universaalne haakeseadis on loodud spetsiaalselt suure koormusega pöördemomendi ülekandmiseks raskete masinate stsenaariumides – mõelge valtspinkide, kraanade ja kaevandusseadmetele, mis töötavad pideva suure pinge all.
Selle peamise disainifunktsioonina on keevitatud ike ja selle pöörlemisdiameetrid ulatuvad praktilistesse vahemikesse: 180 mm kuni 620 mm. Raskete tööde jaoks eristab seda selle võime taluda kuni 15-kraadiseid nurkade kõrvalekaldeid, lisaks võib see taluda kuni 1250 kN·m pöördemomenti – mõlemad on kriitilise tähtsusega, et hoida tööd stabiilsena isegi karmides töötingimustes.
Ehituskvaliteet on keskendunud vastupidavusele: haakeseadis on kasutatud ülitugevat 35CrMo terast, mis tagab pikaajalise sitkuse, mis on ühendatud täppisnõellaagritega, et tagada aja jooksul sujuv ja usaldusväärne jõudlus. See teeb sellest parima valiku kahe peamise vajaduse jaoks: raskete masinate jaoks kohandatud universaalsed liitmikud ja tööstuslike rakenduste jaoks sobivad keevitatud universaalsed liitmikud.
Raydafon toodab seda sidurit Hiinas ja kogu tootmine järgib ISO 9001 standardeid, et tagada ühtlane kvaliteet. Lisaks pakub see kohandatud valikuid, mis vastavad konkreetsetele nõuetele – seda kõike hinnaga, mis on konkurentsivõimeline ettevõtetele, kes otsivad nii töökindlust kui ka väärtust.
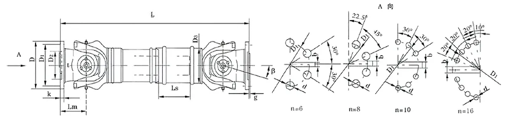
| Ei. | Pööramise läbimõõt D mm | Nominaalne pöördemoment Tn KN·m | Telgede voltimisnurk β (°) | Väsinud pöördemoment Tf KN·m | Paindlik kogus Ls mm | Suurus (mm) | Pöörlev inerts kg.m2 | Kaal (kg) | |||||||||||
| Lmin | D1 (js11) | D2 (H7) | D3 | Lm | n-d | k | t | b (h9) | g | Lmin | Suurendada 100 mm | Lmin | Suurendada 100 mm | ||||||
| SWC58BH | 58 | 0.15 | 0.075 | ≤22 | 35 | 325 | 47 | 30 | 38 | 35 | 4-5 | 3.5 | 1.5 | - | - | - | - | 2.2 | - |
| SWC65BH | 65 | 0.25 | 0.125 | ≤22 | 40 | 360 | 52 | 35 | 42 | 46 | 4-6 | 4.5 | 1.7 | - | - | - | - | 3 | - |
| SWC75BH | 75 | 0.5 | 0.25 | ≤22 | 40 | 395 | 62 | 42 | 50 | 58 | 6-6 | 5.5 | 2 | - | - | - | - | 5 | - |
| SWC90BH | 90 | 1 | 0.5 | ≤22 | 45 | 435 | 74.5 | 47 | 54 | 58 | 4-8 | 6 | 2.5 | - | - | - | - | 6.6 | - |
| SWC100BH | 100 | 1.5 | 0.75 | ≤25 | 55 | 390 | 84 | 57 | 60 | 58 | 6-9 | 7 | 2.5 | - | - | 0.0044 | 0.00019 | 6.1 | 0.35 |
| SWC120BH | 120 | 2.5 | 1.25 | ≤25 | 80 | 485 | 102 | 75 | 70 | 68 | 8-11 | 8 | 2.5 | - | - | 0.0109 | 0.00044 | 10.8 | 0.55 |
| SWC150BH | 150 | 5 | 2.5 | ≤25 | 80 | 590 | 13 | 90 | 89 | 80 | 8-13 | 10 | 3 | - | - | 0.0423 | 0.00157 | 24.5 | 0.85 |
| SWC160BH | 160 | 10 | 5 | ≤25 | 80 | 660 | 137 | 100 | 95 | 110 | 8-17 | 15 | 3 | 20 | 12 | 0.145 | 0.006 | 68 | 1.72 |
| SWC180BH | 180 | 20 | 10 | ≤25 | 100 | 810 | 155 | 105 | 114 | 130 | 8-17 | 17 | 5 | 24 | 14 | 0.175 | 0.007 | 70 | 2.8 |
| SWC200BH | 200 | 32 | 16 | ≤15 | 110 | 860 | 170 | 120 | 127 | 135 | 8-17 | 19 | 5 | 28 | 16 | 0.31 | 0.013 | 86 | 3.6 |
| SWC225BH | 225 | 40 | 20 | ≤15 | 140 | 920 | 196 | 135 | 152 | 120 | 8-17 | 20 | 5 | 32 | 9 | 0.538 | 0.0234 | 122 | 4.9 |
| SWC250BH | 250 | 63 | 31.5 | ≤15 | 140 | 1035 | 218 | 150 | 168 | 140 | 8-19 | 25 | 6 | 40 | 12.5 | 0.966 | 0.0277 | 172 | 5.3 |
| SWC285BH | 285 | 90 | 45 | ≤15 | 140 | 1190 | 245 | 170 | 194 | 160 | 8-21 | 27 | 7 | 40 | 15 | 2.011 | 0.051 | 263 | 6.3 |
| SWC315BH | 315 | 125 | 63 | ≤15 | 140 | 1315 | 280 | 185 | 219 | 180 | 10-23 | 32 | 8 | 40 | 15 | 3.605 | 0.0795 | 382 | 8 |
| SWC350BH | 350 | 180 | 90 | ≤15 | 150 | 1410 | 310 | 210 | 267 | 194 | 10-23 | 35 | 8 | 50 | 16 | 7.053 | 0.2219 | 582 | 15 |
| SWC390BH | 390 | 250 | 125 | ≤15 | 170 | 1590 | 345 | 235 | 267 | 215 | 10-25 | 40 | 8 | 70 | 18 | 12.164 | 0.2219 | 738 | 15 |
| SWC440BH | 440 | 355 | 180 | ≤15 | 190 | 1875 | 390 | 255 | 325 | 260 | 16-28 | 42 | 10 | 80 | 20 | 21.42 | 0.4744 | 1190 | 21.7 |
| SWC490BH | 490 | 500 | 250 | ≤15 | 190 | 1985 | 435 | 275 | 325 | 270 | 16-31 | 47 | 12 | 90 | 22.5 | 32.86 | 0.4744 | 1452 | 21.7 |
| SWC550BH | 550 | 710 | 355 | ≤15 | 240 | 2300 | 492 | 320 | 426 | 305 | 16-31 | 50 | 12 | 100 | 22.5 | 68.92 | 1.357 | 2380 | 34 |
Kui me räägime raskeveokite tööstuslikust käigukastist, mis hoiab voolu usaldusväärselt voolamas, on SWC kardaanliigendi ühendus (mida sageli nimetatakse SWC kardaanvõlli universaalliigendiks) vaieldamatu osa. Teil on raske töötada selliste seadistustega nagu valtsimistehased, tõstemasinad ja kõikvõimalikud rasked rasketehnikasüsteemid – kohtades, kus jõuülekande nurkade lõikamine lihtsalt ei ole võimalik.
Selle põhitöö? Ühendage kaks ülekandevõlli, mis ei ole ideaalselt kohakuti (mittekattuvad teljed) ja veenduge, et võimsus liiguks tõrgeteta isegi siis, kui töötingimused on karmid. Ei mingit kokutamist ega katkestusi – lihtsalt pidev ülekanne, kui see on kõige olulisem.
Jaotame selle peamised spetsifikatsioonid, mis selle jõudluse võimaldavad:
Pööramise läbimõõt: vahemikus φ58 kuni φ620, mis katab laia ulatuse tööstuslikke vajadusi. Nominaalne pöördemoment: saab hakkama kõikjal vahemikus 0,15 kN·m kuni 1000 kN·m – piisavalt lihaseid isegi suure pöördemomendi nõudmiseks. Telje voltimisnurk: suudab suurepäraselt joondada kuni 25° nurki, mis ei kahjusta võlli.
Kus see kõige rohkem silma paistab? Mõelge valtspingi toimingutele – kus see toimib usaldusväärse raskeveokite universaalliigendi ühendusena, mis peab vastu tehase tugeva surve all. Või tõste- ja materjalikäsitlemisseadmetes, kus vastupidava SWC kardaanvõlli ühenduslülina hoiab see asjad stabiilsena ka raskete koormuste korral. See ei tööta ainult – see hoiab toimingud stabiilsena, kui olukord läheb raskeks.
SWC universaalliigendi ühendusmuhvi ei visata lihtsalt kokku – see on maast madalast konstrueeritud nii, et see peab vastu tööstuslikes tingimustes ning funktsioonidega, mis suurendavad nii jõudlust kui ka pikaealisust. Vaatame lähemalt, mis muudab selle struktuuri nii hästi toimivaks.
Nutikas, turvaline disain
Selle tuumaks on integreeritud kahvlipea konstruktsioon – siin pole poltidega koos hoidvaid eraldi tükke. See on oluline, sest see vähendab poltide lahtitulemise või purunemise ohtu, mis on teiste seadistustega tavaline peavalu. Tegelikult suurendab see disain konstruktsiooni tugevust 30% kuni 50% võrreldes vanemate stiilidega. Kõigile, kes toetuvad raskete masinate universaalliigendile, tähendab see vähem rikkeid, kui asjad muutuvad intensiivseks. See on selline tugev universaalliigendi ühendus, mis töötab sujuvalt isegi suure pingega keskkondades, kus muud osad võivad üles öelda.
Ehitatud koorma kandmiseks
See pole teie keskmine pistik. SWC raskeveokite universaalliigendi ühendus on loodud taluma tõsist raskust – mõelge kaevandusseadmetele, ehitusmasinatele ja muudele rasketele löökseadmetele. Kui vajate vastupidavat universaalliigendi sidurit, mis ei taandu surve all, on see see, mis aitab. See ei puuduta ainult suurust; see seisneb materjalide ja inseneritöös koos töötades, et võtta hoo sisse ilma kiiresti kulumata.
Liigutab energiat tõhusalt
Kas olete kunagi mõelnud, kuhu läheb kogu energia suurtes tööstuslikes seadistustes? Siin ei lähe palju raisku. See suure pöördemomendiga universaalliigendi sidur saavutab kuni 98,6% tõhususe, mis tähendab vähem energiakadu soojuse või hõõrdumise tõttu. Kulude vähendamiseks mõeldud operatsioonide jaoks on see suur võit. See on selline tõhus universaalliigendi ühendus, mis muudab suured jõuülekandesüsteemid, toimides usaldusväärse universaalliigendi sidurina, mis hoiab energiaarveid kontrolli all.
Vaikne ja stabiilne
Valju masinad võivad olla tõeliseks probleemiks, eriti ruumides, kus müra on oluline. SWC universaalliigendi ühendus hoiab asja rahulikuna, müratase on tavaliselt vahemikus 30–40 dB(A) – vaiksem kui tavaline vestlus. See muudab selle suurepäraseks madala müratasemega universaalliigendiks keskkondadesse, kus on võtmetähtsusega heli madalaks hoidmine, ilma vajalikku töökindlust ohverdamata. Olenemata sellest, kas tegemist on tehasepõrandaga või täppistöökojaga, saab selle sujuvalt töötava universaalliigendiga töö tehtud ilma reketita.
SWC-BH standardne Flex Welding Type universaalne haakeseadis ei ole lihtsalt üks osa – see on tööhobune, mis on ehitatud nii, et see liigutab jõudu tõhusalt isegi siis, kui masinad on suure pinge all. Teeme lahti, kus see tegelikult paistab.
Võtke näiteks rasketehnika ja ehitusvarustus. Kui puutute kokku äärmuslike koormuste ja pideva vibratsiooniga – mõelge ekskavaatoritele või buldooseritele –, see ühendus ei tagane. Selle keevitatud disain lisab täiendavat vastupidavust, nii et see kestab kauem kui nõrgemad võimalused, mis võivad kogu selle liikumise tõttu praguneda või kuluda. See on selline suure pöördemomendiga universaalne ühendus, mis hoiab võimsuse voolavana, olenemata sellest, kui raske töö on.
Tehastes, eriti konveierliinidel ja montaažisüsteemidel, loeb täpsus. See tööstusliku kvaliteediga universaalne haakeseadis käsitleb nurki ja joonduse nihkeid ilma ühtki lööki vahele jätmata, hoides kiirust ühtlasena. See tähendab vähem aega rikete parandamiseks ja rohkem aega tootmise õigel teel hoidmiseks. Inseneridele meeldib see, kuna see kohandub aksiaalsete, radiaalsete ja nurksete kõrvalekalletega – väikeste nihketega, mis võivad muud osad ära visata.
Autotööstuses ja transpordis vajavad veovõllid midagi usaldusväärset, et võimsust sujuvalt edasi anda. SWC-BH sobib täpselt nii veoautodesse, rongidesse kui ka muudesse sõidukitesse. Selle painduv keevituskonstruktsioon muudab selle hõlpsaks ühendamiseks olemasolevatesse seadistustesse, toimides suurel kiirusel ilma ohutuse tagamiseks nurki lõikamata. See on universaalne veovõlli sidur asjade liikumises hoidmiseks.
Mere- ja avameretöö on seadmetele raske – soolane vesi, karm ilm, ettearvamatud koormused. See haakeseadis kehtib ka siin. Korrosioonikindla universaalse meremuhvina peab see vastu soolapritsmetele ja karmile merele, hoides laevamootorid ja abimasinad järjepidevalt töös. Ei mingeid roostega seotud tõrkeid ega ootamatuid seiskamisi.
Taastuvenergia seadistused, nagu tuuleturbiinid ja päikeseenergia jälgijad, vajavad osi, mis ei raiska energiat. SWC-BH on taastuvenergia universaalne haakeseadis, mis edastab jõudu peaaegu igasuguse tagasilöögiga. See vastab ülemaailmsetele kvaliteedistandarditele, nii et olenemata sellest, kas see asub tuulepargis Euroopas või päikeseelektrijaamas Aasias, see toimib.
Raydafon ei müü neid liitmikke ainult – me kohandame neid. Kas vajate konkreetset suurust, materjali või pöördemomenti? Meie meeskond kohandab SWC-BH vastavalt teie vajadustele. Võtke ühendust ja me aitame teil oma süsteemist maksimumi võtta.
Kui otsite kedagi, keda usaldada mehaaniliste komponentidega – eriti selliste asjadega nagu SWC-BH standardne Flex Welding Type universaalne ühendusliitmik –, pole Raydafon lihtsalt üks võimalus. Oleme tootja, kes elab ja hingab kvaliteeti ning see ilmneb igas meie valmistatud osas.
Esiteks ei ole kvaliteet meie jaoks järelmõte. Kasutame tipptasemel inseneritehnikaid ja kontrollime rangelt iga universaalliigendi sidurit – olgu see raskete masinate jaoks mõeldud suure pöördemomendiga või tööstusliku kvaliteediga mudeleid tehaseseadete jaoks. Kõik osad vastavad ISO 9001 standarditele ja me testime neid kõvasti: ekstreemsed koormused, karmid tingimused, olenemata sellest, mida teie tööstusharu ette näeb. Eesmärk? Ei mingeid ootamatuid tõrkeid, väiksem risk teie toimingute jaoks ja ühendus, mis hoiab teie süsteemid sujuvalt töös.
Siis on kohandamine. Olgem ausad – kahte ühesugust tööd pole. Võib-olla vajate kindlate mõõtmetega veovõlli universaalsidurit või korrosioonikindlast materjalist valmistatud merejõuga universaalsidurit või isegi taastuvenergia universaalset sidurit, mis on häälestatud just õige pöördemomendi jaoks. Me ei pane teid sobima "üks suurus sobib kõigile". Öelge meile, mida vajate, ja me kohandame selle nii, et see sobiks teie olemasolevasse seadistusse – olgu see siis auto-, mere- või päikese-/tuulesüsteemides.
Ja me mõistame, et ka kulud on olulised. Te ei peaks valima hea haakeseadise ja õiglase hinna vahel. Optimeerisime oma tarneahelat ja suurendasime tootmist, et saaksime pakkuda konkurentsivõimelisi hindu isegi spetsialiseeritud osadele (nt laeva jõuseadme universaalne haakeseadis või suure pöördemomendiga tööstusmudel) ilma kvaliteeti kärpimata. Selle eesmärk on anda teile väärtus, mis kestab, mitte lihtsalt odav osa, mis kiiresti ebaõnnestub.
Ka meie tiim ei kao, kui vajutate nuppu "Telli". Alates esimesest kõnest – kui proovite välja selgitada, milline universaalliigendi ühendus teie taastuvenergia varustuse või tehaseliini jaoks kõige paremini sobib – kuni müügijärgse toeni, kui teil on küsimusi, oleme siin. Meil on aastatepikkune tööstusalane oskusteave, nii et saame suunata teid õige valikuni, aidata teil vältida seisakuid ja tagada, et teie ühendus teeb täpselt seda, mida vajate.
Raydafonis ei müü me ainult osi – me loome partnerlussuhteid. Tahame olla meeskond, keda usaldate, et teie tegevust edasi liigutaks universaalliigeste lahendused, mis töötavad sama kõvasti kui teie. Kui teil on konkreetseid vajadusi, pöörduge juba täna meie spetsialistide poole – räägime sellest, kuidas saame aidata.
Aadress
Luotuo tööstuspiirkond, Zhenhai piirkond, Ningbo linn, Hiina
Tel
E-post


+86-574-87168065


Luotuo tööstuspiirkond, Zhenhai piirkond, Ningbo linn, Hiina
Autoriõigus © Raydafon Technology Group Co., piiratud kõik õigused reserveeritud.
Links | Sitemap | RSS | XML | Privaatsuspoliitika |
