QR kood
Tooted
Võta meiega ühendust


Faks
+86-574-87168065

E-post

Aadress
Luotuo tööstuspiirkond, Zhenhai piirkond, Ningbo linn, Hiina
Kui kasutate rasket masinat – nagu terasvaltsimistehased, mis pressivad metalli kogu vahetuse ajal välja, kraanad, mis tõstavad tonni materjale või kaevandate maa all tolmu ja rõhuga võitlevat varustust –, vajate haakest, mis ei vea teid alt. Täpselt selleks on Raydafoni SWC-BH standardne Flex Welding Type universaalne haakeseadis loodud: usaldusväärne pöördemomendi ülekanne isegi siis, kui töö on raske.
Kõigepealt räägime selle disainist. Keevitatud ike ei ole lihtsalt funktsioon – see on mängu muutja. Erinevalt poltidega ikkedest, mis võivad aja jooksul lahti tulla, on see täiskeevitatud, nii et pole ohtu, et osad võivad masina raske töötamise ajal lahti loksuda. Ja see sobib ka mitmesuguste seadistustega, pöörde läbimõõduga 180 mm kuni 620 mm – pole vaja jahtida valikut, mis ei sobi ühelegi suurusele. Standardse painduva universaalse sidurina talub see kuni 15-kraadist nurganihet, mis tähendab, et kui teie võllid ei ole ideaalselt joondatud (ja olgem tõelised, nad on harva), hoiab see jõu ikkagi liikumas. Isegi kui pöördemoment saavutab 1250 kN·m – tõsine võimsus – püsib see stabiilsena, ei kogele ega lange.
Me ei koonerdanud ka materjalidega. See asi on valmistatud 35CrMo terasest – ülitugevast materjalist, mis on kulumiskindel isegi siis, kui seda kaevanduses paugutatakse või valtsimistehase lähedal üles kuumutatakse. Lisaks paigaldame täppis-nõellaagrid, nii et see liigub sujuvalt, vähendab hõõrdumist ja kestab palju kauem kui odavamad haakeseadised. Seetõttu sobib see raskete masinate universaalsete haakeseadiste jaoks – see ei tööta ainult paar nädalat; see kleepub ümber, hoides teie varustust töös. Ja kui vajate keevitatud universaalseid liitmikke tööstuslikeks rakendusteks? See on kõik – keevitatud disain talub vibratsiooni ja pinget paremini kui poltidega alternatiivid, nii et kulutate vähem aega kinnitamisele ja rohkem aega töötamisele.
Raydafonis valmistame neid Hiinas, kuid me ei piira kvaliteeti. Iga samm järgib ISO 9001 standardeid – kontrollime terast, kontrollime keevisõmblusi, testime laagreid – nii et teate, et saate ülemaailmsetele kvaliteedireeglitele vastava siduri. Ja kui teie seadistus on veidi erinev? Teeme kohandatud näpunäiteid – kohandame suurust, kohandame tehnilisi andmeid – mida iganes vajate, et see sobiks. Parim osa? Selle hind ei ole nagu luksusosa. Saate vastupidava universaalse haakeseadise, mis töötab kõvasti, maksmata varandust. Kõigile, kes ei saa endale lubada seisakuid, on see SWC-BH-ühendus selline töökindel detail, mis hoiab teie masinaid päevast päeva liikumas.
| Ei. | Pööramise läbimõõt D mm | Nominaalne pöördemoment Tn KN·m | Telgede voltimisnurk β (°) | Väsinud pöördemoment Tf KN·m | Suurus (mm) | Pöörlev inerts kg.m2 | Kaal (kg) | |||||||||||
| Lmin | D1 (js11) | D2 (H7) | D3 | Lm | n-d | k | t | b (h9) | g | Lmin | Suurendada 100 mm | Lmin | Suurendada 100 mm | |||||
| SWC100WH | 100 | 1.25 | 0.63 | 25° | 243 | 84 | 57 | 60 | 55 | 6-9 | 7 | 2.5 | - | - | 0.0039 | 0.00019 | 4.5 | 0.35 |
| SWC120WH | 120 | 2.5 | 1.25 | 25° | 307 | 102 | 75 | 70 | 65 | 8-11 | 8 | 2.5 | - | - | 0.0096 | 0.00044 | 7.7 | 0.55 |
| SWC150WH | 150 | 5 | 25 | 25° | 350 | 130 | 90 | 89 | 80 | 8-13 | 10 | 3 | - | - | 0.371 | 0.00157 | 18 | 24.5 |
| SWC180WH | 180 | 12.5 | 6.3 | 25° | 180 | 155 | 105 | 114 | 110 | 8-17 | 17 | 5 | - | - | 0.15 | 0.007 | 48 | 2.8 |
| SWC225WH | 225 | 40 | 20 | 15° | 520 | 196 | 135 | 152 | 120 | 8-17 | 20 | 5 | 32 | 9 | 0.365 | 0.0234 | 78 | 4.9 |
| SWC250WH | 250 | 63 | 31.5 | 15° | 620 | 218 | 150 | 168 | 140 | 8-19 | 25 | 6 | 40 | 12.5 | 0.817 | 0.0277 | 124 | 5.3 |
| SWC285WH | 285 | 90 | 45 | 15° | 720 | 245 | 170 | 194 | 160 | 8-21 | 27 | 7 | 40 | 15 | 1.756 | 0.051 | 185 | 6.3 |
| SWC315WH | 315 | 125 | 63 | 15° | 805 | 280 | 185 | 219 | 219 | 10-23 | 32 | 8 | 40 | 15 | 2.893 | 0.0795 | 262 | 8 |
| SWC350WH | 350 | 180 | 90 | 15° | 875 | 310 | 210 | 267 | 194 | 10-23 | 35 | 8 | 50 | 16 | 5.013 | 0.2219 | 374 | 15 |
| SWC390WH | 390 | 250 | 125 | 15° | 955 | 345 | 235 | 267 | 215 | 10-25 | 40 | 8 | 70 | 18 | 8.406 | 0.2219 | 506 | 15 |
| SWC440WH | 440 | 355 | 180 | 15° | 1155 | 390 | 255 | 325 | 260 | 16-28 | 42 | 10 | 80 | 20 | 15.79 | 0.4744 | 790 | 21.7 |
| SWC490WH | 490 | 500 | 250 | 15° | 1205 | 435 | 275 | 325 | 270 | 16-31 | 47 | 12 | 90 | 22.5 | 26.54 | 0.4744 | 1014 | 21.7 |
| SWC550WH | 550 | 710 | 355 | 15° | 1355 | 492 | 320 | 426 | 325 | 16-31 | 50 | 12 | 100 | 22.5 | 48.32 | 1.357 | 1526 | 34 |
Kui olete väsinud tüütutest haakeseadistest, mis aeglustavad teie tööd või lähevad katki, kui neid kõige rohkem vajate, on Raydafoni SWC-WH ilma Flex Welding Type Universal Couplingita mängumuutus. See on täis eeliseid, mis muudavad selle parimaks valikuks kõigile, kes vajavad mehaanilistes süsteemides sujuvat pöördemomendi ülekannet – ilma segadust tekitavate keevitamisetappideta, vaid kindel jõudlus, mis sobib täpselt teie töövooga.
Esiteks on selle asja installimine palju lihtsam, kui arvate. Erinevalt keevitatud muhvidest, mis sunnivad teid lisatööriistu sisse tooma või ootama keevisõmbluste tardumist, kasutab SWC-WH poltidega konstruktsiooni. Saate selle kiiresti oma olemasolevasse seadistusse lisada ja millal on aeg hoolduseks? Selle lahtivõtmine on imelihtne, nii et teie tööstuslik varustus veedab vähem aega jõude. Sellepärast on see nii suurepärane mitmekülgne suure pöördemomendiga universaalliigendi ühendus – ilma seisakuaegse peavaluta, lihtsalt astuge sisse, parandage vajalik ja asuge tagasi tööle.
Vastupidavust silmas pidades on see ehitatud nii, et see oleks vastupidav. Kasutame vastupidavaid materjale, mis taluvad suuri koormusi ja pidevat vibratsiooni ilma võpatuseta – see sobib suurepäraselt hõivatud tööstuspiirkondadesse, kus seadmed kunagi ei katke. Ja kuna keevitamist ei toimu, ei pea te muretsema nõrkade kohtade pärast, mis kerkivad esile, kui keevisõmblused aja jooksul kuluvad. See ei ole haakeseadis, mida tuleb iga paari kuu tagant välja vahetada; see on töökindel universaalliigend tööstuslikele masinatele, mis püsib ümber ja hoiab teie töö stabiilsena.
Valed joondused? Pole probleemi. Võllid ei püsi kunagi ideaalselt joondatud, eriti auto- või transpordisüsteemides, kuid SWC-WH käsitleb nurk-, aksiaal- ja radiaalhälbeid nagu professionaal. See on selline veovõlli kardaanliigendi ühendus, mis hoiab jõu sujuvalt liikumas isegi siis, kui joondamine muutub häkkiks – ei mingeid tõmblusi ega kukkumisi, vaid ühtlane jõudlus.
Ja räägime kuludest. Keevitamine lisab täiendavaid tööjõu- ja materjalitasusid, kuid see haakeseadis jätab selle kõik vahele. Saate kvaliteetse toote ilma liigsete kulutusteta, mis on iga eelarve puhul suur võit. Isegi keerulistes kohtades, nagu mereseade, kus korrosioon on pidev oht, püsib see usaldusväärse mere universaalliigendi ühendusena – vastupidav soolase vee vastu ja mugav teie rahakotile.
Kui teile meeldib taastuvenergia, sobib see ühendus samuti hästi. See on tugev universaalliigend taastuvenergia seadmete jaoks, mis liigutab energiat tõhusalt, ilma jäätmeteta. Lisaks on see kerge, nii et see ei koorma teie süsteemi – see sobib suurepäraselt asjade jätkusuutlikuks toimimiseks ilma jõudlust ohverdamata.
Raydafon ei müü ainult haakeseadiseid – valmistame selliseid, mis vastavad teie vajadustele. SWC-WH on kohandatav, nii et see töötab täpselt nii, nagu soovite. Kui olete huvitatud sellest, kuidas see teie toiminguid sujuvamaks muuta, võtke meie meeskonnaga ühendust. Juhendame teid selle läbi, ilma žargoonita – lihtsalt rääkige otse sellest, mida see sidumine teie heaks teha võib.
Raydafoni SWC-WH ilma paindkeevitustüüpi universaalühenduseta töötab kardaanliigendi mehaanika põhiteadmiste põhjal, kuid oleme seda kohandanud, et see sobiks paremini tööstuslike tööde jaoks. Kogu mõte? Pange pöördemoment sujuvalt liikuma kahe võlli vahel, mis pole ideaalselt joondatud, isegi kui need on nurga all. Spetsiaalselt ehitatud SWC kardaanvõlli universaalliigendi ühenduslülina kasutab see keskel ristikujulist detaili, et hoida pöörlemisjõudu ühtlaselt voolata – just seepärast on see nii suure pöördemomendiga universaalliigendi ühendus raskete tööde jaoks, nagu valtspinkide või tõsteseadmete jaoks.
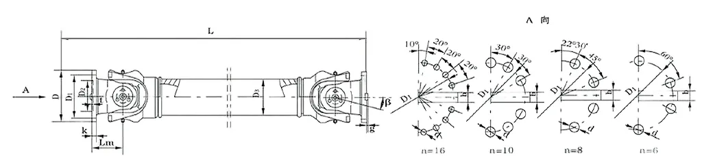
Teeme lahti selle tööpõhimõtte: seal on kaks harulist iket ja need on ühendatud keskse ristiga (nimetame seda ämblikuks). See seadistus võimaldab ikkedel pöörata mitmes suunas – nii et isegi kui võllid on nihutatud kuni 25° (see on selle maksimaalne telje voltimisnurk), edastatakse pöördemoment ikkagi ühtlaselt. Sellel on ka spetsifikatsioonid, mis toetavad seda: pöörlemise läbimõõt on vahemikus φ58 kuni φ620 ja see talub nimipöördemomenti 0,15 kuni 1000 kN·m. Kui kasutate seda raskeveokite universaalliigendi ühendusena valtspingi operatsioonide jaoks, tähendab see konstruktsioon, et sisendpööre muutub ilma tõrgeteta väljundliikumiseks – need liigendühendused pöörduvad ise, et tasandada nihked, ilma katkestusteta.
Mis muudab "paindkeevituseta" osa oluliseks? Vahetasime keevisõmblused polt- või klambriühenduste vastu. Keevisõmblused võivad aja jooksul olla nõrgad kohad, kuid need kinnitusdetailid vähendavad rikkeohtu ja hõlbustavad ka liitmike kokkupanekut. Sellel tööstuslikul universaalliigendil on ka täiustatud kahvlipea konstruktsioon, mis takistab poltide lõdvenemist, suurendades selle konstruktsiooni tugevust 30–50%. See on suur asi nõudlikes kohtades, nagu kaevandused või ehitusplatsid, kus see toimib vastupidava SWC kardaanvõlli ühenduslülina – peab tugeva koormuse all vastu andmata.
Tõhusus on siin veel üks võit: see saavutab kuni 98,6% ülekandetõhususe. Projekteerisime kõik osad hõõrdumise ja energia raiskamise vähendamiseks – pole üllatav, et see on tõhus universaalliigend suure jõuülekande jaoks suure võimsusega tööstuslikes seadistustes. Ja see töötab vaikselt: tavaliselt 30-40 dB(A). Seda tänu tasakaalustatud pöörlemisele ja sisseehitatud vibratsioonisummutusele – muutes selle madala müratasemega universaalliigendiks kohtadesse, kus müra on probleem. Lisaks hoiab see energiakulusid madalal, seega kontrollib see ka energiasäästliku universaalliigendi vajaduste kasti.
Raskemasinate universaalliigendi ühendussüsteemides on see kõige olulisem: SWC-WH jaotab jõud ühtlaselt kõikidele oma osadele. Ükski tükk ei võta liiga palju koormust, mis tähendab vähem rikkeid ja pikemat eluiga. Raydafonis ei ehita me seda haakeseadet ainult spetsifikatsioonidele vastamiseks – me kohandame selle teie töö jaoks sobivaks, olgu selleks siis vastupidavad raskemasinad või spetsiaalsed tööstuslikud seadistused. Kui soovite seda kohandada, et teie süsteem töötaks sujuvamalt või kestaks kauem, rääkige lihtsalt meie meeskonnaga – aitame teil luua seadistuse, mis sobib täpselt teie vajadustega.
⭐⭐⭐⭐⭐ Zhang Wei, mehaanikainsener, Beijing Industrial Machinery Co., Ltd.
Meie tootmisseadmetes on olnud Raydafoni SWC-WH ilma Flex Welding Type Universaalmuhviga juba paar kuud ja see on toiminud stabiilselt – eriti siis, kui surume oma masinaid vastu suurele koormusele. Hindan väga selle vastupidavat ehitust: isegi nendel pikkadel ja nõudlikel vahetustel, kus teised osad võivad hakata lonkama, hoiab see ühendus asjad sujuvalt – ei mingeid juhuslikke vibratsioone ega ootamatuid rikkeid, mis kogu meie rea nihutavad.
Paigaldamine oli ka imelihtne. Meie meeskond ei pidanud kulutama tunde keerukate sammude väljamõtlemiseks; saime selle kiiresti paika ja pole sellest ajast peale pidanud näpistama. Meie omasuguste raskeveokite puhul pole töökindlus ja kvaliteet vaieldavad ning see haakeseadis kontrollib mõlemat kasti. Raydafon on tõestanud, et nad on partner, kellele saame siin loota – oleme tõeliselt rahul selle toote vastupidamise üle.
⭐⭐⭐⭐⭐ John Smith, tehase juht, Florida tootmine, USA
Võtsin Raydafoni SWC-WH-ühenduse meie Florida tehases kasutusele mõni kuu tagasi ja see on olnud täpselt see, mida vajasime – lihtne, muretu ja pidevalt tõhus. Jõuülekanne püsib stabiilsena, mis on meie tootmise tempos hoidmise võti, ja me pole pidanud seda kordagi hoolduseks puudutama. See on meie jaoks suur võit; vähem aega osade kinnitamiseks tähendab rohkem aega töö tegemiseks.
Isegi kui kasutame masinaid tugevalt ja suure pinge all, ei võpa see ühendus – see lihtsalt jätkab. Paigaldamine oli ka lihtne; meie tehnikud panid selle kiiresti valmis. Ja kui ühendate selle jõudluse mõistliku hinnaga? See on kindel väärtus. Lisaks oli Raydafoni klienditugi tipptasemel, kui meil tekkis kiire küsimus – nad võtsid meiega kiiresti tagasi. Kahtlemata jätkame nende toodete kasutamist.
⭐⭐⭐⭐⭐ Roberto Silva, Brasiilia São Paulo Engineering Solutionsi tegevusdirektor
Oleme Raydafoniga juba mõnda aega koostööd teinud, kuid nende SWC-WH ilma Flexi ühendus on meie tegevuses tõesti silma paistnud – see on ikka ja jälle tõestanud oma väärtust. Esimene asi, mida märkate, on selle kindel konstruktsioon; see tundub ehitatud kestma ja see tähendab meie masinate usaldusväärset jõudlust.
Enne sellele haakeseadisele üleminekut oli meil tegemist sagedaste seisakutega, mis tulenevad valede joondamise probleemidest ja vanade osade enneaegsest kulumisest. Nüüd? Need probleemid on kadunud. See vähendab meie seisakuid, mis on tootlikkusele tohutult suurendanud. Ja paigaldus? Väga lihtne – meie meeskond ei raisanud aega seadistamise tõrkeotsingule. Kõigile ettevõtetele, kes vajavad jõuülekande osi, mida nad saavad usaldada, on see üks asi. Ma soovitaksin seda kindlasti.
⭐⭐⭐⭐⭐ Peter Müller, tehniline juhendaja, Stuttgart Manufacturing GmbH, Saksamaa
Oleme oma Stuttgardi tootmisüksuses Raydafoni SWC-WH-ühendust kasutanud üle kuue kuu ja see on olnud veatu – tõsiselt, mitte ühtegi probleemi kogu aeg. Selle disain on arusaadav, mis muudab paigaldamise kiireks; meie meeskond paigaldas selle ja valmis kiiresti tööle, ilma keeruliste sammude või spetsiaalsete tööriistadeta.
Mis mulle aga tõeliselt muljet avaldab, on kvaliteet. Keevitus on puhas ja tugev ning materjalid tunduvad kvaliteetsed – võite öelda, et need ei lõikanud nurki. Regulaarsel kasutamisel püsib see suurepäraselt vastu, isegi pärast kuudepikkust pidevat töötamist ei ilmne kulumismärke. Oleme selle toote toimivusega rohkem kui rahul ja see on juba meie loendis, mida tulevaste projektide jaoks kasutada.
Aadress
Luotuo tööstuspiirkond, Zhenhai piirkond, Ningbo linn, Hiina
Tel
E-post


+86-574-87168065


Luotuo tööstuspiirkond, Zhenhai piirkond, Ningbo linn, Hiina
Autoriõigus © Raydafon Technology Group Co., piiratud kõik õigused reserveeritud.
Links | Sitemap | RSS | XML | Privaatsuspoliitika |
